2" & 3" Center Strap Link - Racecar Harness Hardware


Production & Assembled in the USA

100% Satisfaction Guaranteed

Fast Shipping
2" & 3" Center Strap Link - Racecar Harness Hardware
- Vendor
- Mega Cargo Control
Available Options
Finish: Zinc Plated
- Short Type
- Long Type
Strength
- Breaking Strength: 5,000 lbs.
- Working Load Limit: 1,666 lbs.
Shipping:
Normally we will ship the orders within 24 hours after the confirmation of your payment; however, we will contact you if your order does not ship within 2 business days. A tracking number will be provided by email to you upon shipment.
Returns:
All returns must be made within 30 days of delivery. Return must be approved before being sent back. The buyer is responsible for any cost related to returning the merchandise. The shipping charges are non-refundable; a 20% restocking fee will be applied on all the returns.
PLEASE NOTE:
Our liability for defectives on any product shall not exceed its replacement cost. Any abuse or modification of the product voids the warranty. Please contact us if you have any questions.
DO NOT EXCEED THE WORKING LOAD LIMIT


Production & Assembled in the USA

100% Satisfaction Guaranteed

Fast Shipping
What Are Harness Links For?
Harness links are critical components in a racing harness system, connecting the shoulder straps to the center latch. These replacement links ensure a snug fit, preventing slack and keeping the driver securely in place during high-speed maneuvers. Whether you need a short type link for a tighter fit or a long type link for adjustability, choosing the right harness hardware can make all the difference in safety and comfort.

Twist Center Links
Long and Short Lengths

Center Safety Links
2" & 3" Safety Links

Center Latch Links
Replacement Buckle w/ Pad
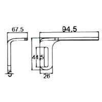
Twist Center Link – Short & Long Types
Model Numbers:
- ✔ RE202S (Short Type Link)
- ✔ RE202L (Long Type Link)
Key Features:
✔ Breaking Strength: 5,000 lbs.
✔ Working Load Limit: 1,666 lbs. (*1/3 of breaking strength*)
✔ Twist design – Provides a tighter fit for smaller drivers
✔ Enhanced shoulder mobility – Reduces shifting during races
✔ Durable construction – Withstands extreme racing forces
Best For:
- ✔ Drivers who need a more secure, non-slip fit
- ✔ Racers who prefer minimal strap movement
- ✔ Situations where adjustability and stability are critical
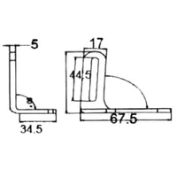
2. Center Strap Link – Short & Long Types
Model Numbers:
- ✔ RE201S (Short Type Link – 2")
- ✔ RE201L (Long Type Link – 3")
Key Features:
✔ Breaking Strength: 5,000 lbs.
✔ Working Load Limit: 1,666 lbs. (*1/3 of breaking strength*)
✔ Standard strap design – Simple and effective for most harness setups
✔ Reliable performance – Holds up under intense racing conditions
✔ Versatile fit – Works with a wide range of harness systems
Best For:
- ✔ Racers who need a traditional, straightforward link
- ✔ Those who prefer easy adjustability
- ✔ Teams looking for durable, no-frills harness hardware